Basket: 0,00  0

Do dopravy zdarma zb�va 9999,- K�
0

Favourite items:

0
Menu

LEDVANCE lumin.kan.LED LN.IndiviLED.D/I 56W 6550lm/840 IP20 50Y emergency

Code Kratochvíl: OSILNILDI56/840E
Brand: LEDVANCE
Producer number 4058075109902
EAN 4058075109902
Add to favourites
Price 410,29 
Slaný - central warehouse - On order
Nová Paka - branch - On order
Supplier - On order
Buy (pcs):
  • Features
  • EANs & additional codes
  • Related files

Features

Výrobce:
Manufacturer LEDVANCE
Logistické informace:
EAN 4058075109902
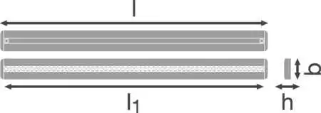
Length 1488.00
Energy efficiency label E
Dimensions 1488x120x40mm
Width 120.00
Height 40.0
Packaging 1.30 ks
Others
barva těla POLAR
Beam angle 70 st.
Cap-base ostatní
Cover material ostatní
Direct/Indirect Přímé/Nepřímé
Driver included DMX
Emergency gear DMX
Fixture class I
Height/Depth 40.00
Chromaticity 4015 K
Chromaticity(verbal) Neutrální
IK rating IK06
Item category Professional fixtures
Item subcategory Office
Lamp included DMX
Luminous flux 6550 lm
Material housing Aluminium
Power 56 W
přepravní rozměr cm 162.4 cm
Symmetrical/Asymmetrical Symetrické
Transport height 52
Transport length 132
Transport width 1624
type of glass/cover bílé
účinnost svítidla 120
With motion sensor ne
CRI 80-89
IP rating IP20
Lamp LED modul
Lifespan 50000.00 hod
Volatge 220-240 V

EANs & additional codes:

EAN 4058075109902 pcs 1 pcs
KOD OSILNILDI56/840E pcs 1 pcs
EAN 4058075109919 box 11 pcs