Basket: 0,00  0

Do dopravy zdarma zb�va 9999,- K�
0

Favourite items:

0
Menu

LED STRIP PERFORMANCE COB -1000 -1000/COB/930/5

Code Kratochvíl: OSILSPFM1000/COB/930
Brand: LEDVANCE
Producer number 4058075597532
EAN 4058075597532
Add to favourites
Price 177,00 
Slaný - central warehouse - On order
Nová Paka - branch - On order
Supplier - On order
Buy (pcs):
  • Features
  • EANs & additional codes
  • Related files

Features

Výrobce:
Manufacturer LEDVANCE
Logistické informace:
EAN 4058075597532
Energy efficiency label F
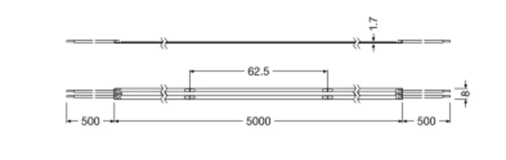
Width 8.0
Packaging 10 ks
Length 5000
Others
Beam angle 140 st.
CRI 90-100
Chromaticity 3030 K
Chromaticity(verbal) Teplá
IP rating IP00
Item category
Item subcategory LED lamps
Luminous flux 1010 lm
přepravní rozměr cm 24.2 cm
Reflector ne
Transport height 26
Transport length 242
Transport width 242
Volatge 24.0 V

EANs & additional codes:

EAN 4058075597532 pcs 1 pcs
KOD OSILSPFM1000/COB/930 pcs 1 pcs
EAN 4058075600737 box 11 pcs

Recently viewed